在现代电子系统中,非易失性存储需求无处不在,从简单的设备配置到复杂的系统参数存储。FT24C64A-ESR 作为一款 64K 位(8 位宽)的双线串行 EEPROM,凭借其低功耗、高可靠性以及灵活的接口设计,成为众多应用场景的理想选择。本文将深入解析 FT24C64A-ESR 的技术规格,并提供详细的应用指南,帮助工程师快速上手并优化设计。
存储容量:64K 位(8192 字节),组织为 8192 个 8 位字节。
工作电压:1.8 V 至 5.5 V,适用于多种电源环境。
接口类型:标准双线串行接口(I2C),支持最高 1 MHz(2.5-5 V)和 400 kHz(1.8 V)的通信速率。
写?;すδ埽和ü?WP 引脚实现硬件级数据?;?。
写入模式:支持 32 字节页面写入,允许部分页面写操作。
可靠性:100 年数据保持能力,100 万次擦写耐久性。
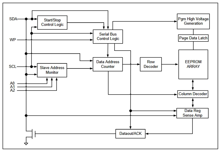
FT24C64A-ESR 提供多种封装选项,包括 8 引脚 DIP、SOP、MSOP、TSSOP、DFN 和 5 引脚 SOT23、TSOT23。引脚功能如下:

A2, A1, A0:设备地址输入。
SDA:双向串行数据线,支持开漏输出。
SCL:串行时钟输入。
WP:写?;ひ拧?br/> VCC:电源。
GND:地。
低功耗待机模式:在未操作时自动进入低功耗待机状态。
写入操作:支持字节写入和页面写入,页面写入可显著提高数据传输效率。
读取操作:支持当前地址读取、顺序读取和随机读取,满足不同应用场景需求。
电源连接:确保 VCC 和 GND 之间连接一个 10 nF 的去耦电容,以减少电源噪声。
地址设置:根据系统需求,将 A2、A1 和 A0 引脚连接到 VCC 或 GND,以设置设备地址。
写保护:将 WP 引脚连接到 GND 或 VCC,以启用或禁用写?;すδ堋?br/> 通信接口:将 SDA 和 SCL 引脚连接到主控制器的 I2C 接口,并确保 SDA 线通过一个外部上拉电阻连接到 VCC。

在系统上电后,FT24C64A-ESR 会自动进入待机模式。为了确保设备正常工作,必须等待 VCC 稳定后(至少 500 ms)再发送指令。建议在 VCC 上升到稳定值后,通过发送一个简单的读取命令来确认设备已准备好。
字节写入:发送设备地址(写模式)、目标地址和要写入的数据字节。设备会在接收到数据后自动执行写入操作,并在完成后进入待机模式。
页面写入:发送设备地址(写模式)、目标地址和最多 32 个数据字节。设备会自动将数据写入连续的页面地址,直到接收到 STOP 条件。
当前地址读?。悍⑺蜕璞傅刂罚ǘ聊J剑?,设备会从当前地址开始读取数据。
顺序读取:发送设备地址(读模式),设备会从当前地址开始连续读取数据,直到主控制器发送 STOP 条件。
随机读?。和ü靶槟庑础辈僮魃柚媚勘甑刂罚缓笾葱械鼻暗刂范寥?。
写入延迟:写入操作完成后,设备会进入一个最长 5 ms 的自定时写入周期,在此期间设备不会响应任何指令。
地址溢出:在页面写入时,如果超出页面边界,地址会自动回绕到页面起始地址,可能导致数据覆盖。
电源稳定性:在写入操作期间,确保 VCC 电压稳定,避免因电源波动导致写入失败或数据损坏。

FT24C64A-ESR 可用于存储嵌入式系统的启动参数、设备配置信息和校准数据。其低功耗和高可靠性使其成为理想的非易失性存储解决方案。
在物联网设备中,FT24C64A-ESR 可用于记录传感器数据、设备状态和历史事件。其支持的页面写入功能可以显著提高数据记录效率。
FT24C64A-ESR 可用于存储消费电子设备的用户设置、固件版本信息和系统参数。其小尺寸封装和低功耗特性使其适合于紧凑型设备。
FT24C64A-ESR 作为一款高性能的 64K 位双线串行 EEPROM,凭借其灵活的接口设计、低功耗特性和高可靠性,适用于多种应用场景。通过本文提供的技术规格解析和应用指南,工程师可以快速上手并优化设计,确保在实际应用中充分发挥其性能优势。